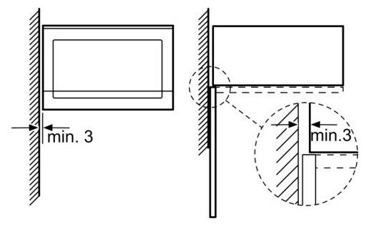
Встраиваемая микроволновая печь Siemens BE555LMS0
Описание
Встраиваемая микроволновая печь с 8 предустановленными автоматическими программами, Touch Control, функцией гриль Полный перечень технологий, используемых в модели, включает в себя: *AutoPilot *TouchControl *LED Light
Характеристики
Бренд
Siemens
Внутреннее покрытие камеры
нержавеющая сталь
Расположение
встраиваемая
Мощность микроволн, Вт
900
Дополнительные режимы
автоматическое приготовление
Диаметр поддона, мм
315
Количество уровней мощности
5
Потребляемая мощность
900
Ширина, см
59.4
Режимы работы
гриль
Объем, л
25
Особенности
дисплей, подсветка камеры
Открывание дверцы
кнопка
Мощность гриля
1200
Гарантийный срок
1 г.
Переключатели
кнопочные, сенсорные
Габариты (ШхВхГ)
59.4х38.2х38.8
Цвет
черный
Высота, см
38.2
Глубина, см
38.8
Отзывы


















