Смеситель для кухни Kaiser Decor 40144-5
Описание
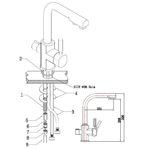
Удобное управление благодаря одной рукоятке включения. Современные формы, которые придают ему строгость. Имеется подключение под фильтр (питьевая вода). Не нужно выводить отдельный кран для питьевой воды т.к. внутри смесителя проходит магистраль для нее и ее легко подключить. Боковая рукоятка слева активизирует подачу питьевой воды.
Характеристики
Бренд
Kaiser
Тип излива
стандартный
Управление
рычажное
Монтаж
на столешницу
Переключатель на фильтр
есть
Количество монтажных отверстий
1
Каскадный излив
нет
Стиль
традиционный
Высота излива (см)
28.8
Длина излива (см)
20.5
Аэратор
есть
Запорный клапан
керамический картридж
Комплектация
крепление, отдельный вентиль для подачи фильтрованной воды, смеситель для кухни, присоединительная группа для настольного крепления
Гигиенический душ
нет
Донный клапан
нет
Подводка воды
1/2'
Цвет
серебристый
Материал корпуса
латунь
Термостат
нет
Отзывы






